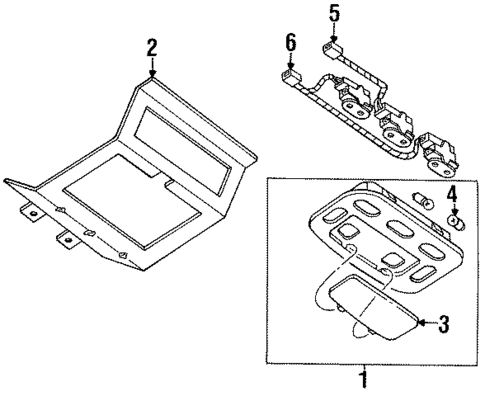
Overhead for 1994 Mercury Villager
Vehicle
1994 Mercury Villager
Change Vehicle
- Aperture Panel
- Bumper & Components - Front
- Bumper & Components - Rear
- Center Pillar
- Cowl
- Door
- Door & Components
- Exterior Trim - Door
- Exterior Trim - Fender
- Exterior Trim - Lift Gate
- Exterior Trim - Side Door
- Exterior Trim - Side Panel
- Fender & Components
- Floor
- Fuel Door
- Gate & Hardware
- Glass - Door
- Glass - Lift Gate
- Glass - Side Door
- Glass - Side Panel
- Glass - Windshield
- Grille & Components
- Hardware
- Hinge Pillar
- Hood & Components
- Inner Structure
- Instrument Gauges
- Instrument Panel
- Interior Trim
- Interior Trim - Door
- Interior Trim - Pillars
- Interior Trim - Rear Body
- Interior Trim - Roof
- Interior Trim - Side Door
- Interior Trim - Side Panel
- Liftgate
- Luggage Carrier
- Outside Mirrors
- Overhead
- Radiator Support
- Rear Floor & Rails
- Rear Window
- Reveal Moldings
- Rocker
- Roof
- Seat Belt
- Seat Components
- Side Panel & Components
- Sliding Door
- Sound System
- Stripe Tape
- Structural Components & Rails
- Sunroof
- Tracks & Components
- Wiper & Washer Components
- Wiper Components
- ABS Components
- Air Bag Components
- Alternator
- Antenna & Radio
- Backup Lamps
- Battery
- Battery & Related Components
- Bulbs - Chassis
- Combination Lamps
- Cruise Control System
- Daytime Running Lamp Components
- Distributor
- Flasher Units, Fuses, & Circuit Breakers
- Flashers
- Front Door
- Front Seat Belts
- Glass, Windows & Related Components
- Headlamp Components
- High Mount Lamps
- Horn
- Ignition Lock
- Ignition System
- Instruments & Gauges
- License Lamps
- Lumbar Control Seats
- Mirrors
- Moonroof
- Park Lamps
- Power Seats
- Powertrain Control
- Quarter Window
- Rear Seat Belts
- Relays
- Senders
- Sensors
- Side Marker Lamps
- Signal Lamps
- Sliding Door
- Starter
- Switches
- Window Defroster
- Wipers
- Aperture Panel
- Bumper & Components - Front
- Bumper & Components - Rear
- Center Pillar
- Cowl
- Door
- Door & Components
- Exterior Trim - Door
- Exterior Trim - Fender
- Exterior Trim - Lift Gate
- Exterior Trim - Side Door
- Exterior Trim - Side Panel
- Fender & Components
- Floor
- Fuel Door
- Gate & Hardware
- Glass - Door
- Glass - Lift Gate
- Glass - Side Door
- Glass - Side Panel
- Glass - Windshield
- Grille & Components
- Hardware
- Hinge Pillar
- Hood & Components
- Inner Structure
- Instrument Gauges
- Instrument Panel
- Interior Trim
- Interior Trim - Door
- Interior Trim - Pillars
- Interior Trim - Rear Body
- Interior Trim - Roof
- Interior Trim - Side Door
- Interior Trim - Side Panel
- Liftgate
- Luggage Carrier
- Outside Mirrors
- Overhead
- Radiator Support
- Rear Floor & Rails
- Rear Window
- Reveal Moldings
- Rocker
- Roof
- Seat Belt
- Seat Components
- Side Panel & Components
- Sliding Door
- Sound System
- Stripe Tape
- Structural Components & Rails
- Sunroof
- Tracks & Components
- Wiper & Washer Components
- Wiper Components
- ABS Components
- Air Bag Components
- Alternator
- Antenna & Radio
- Backup Lamps
- Battery
- Battery & Related Components
- Bulbs - Chassis
- Combination Lamps
- Cruise Control System
- Daytime Running Lamp Components
- Distributor
- Flasher Units, Fuses, & Circuit Breakers
- Flashers
- Front Door
- Front Seat Belts
- Glass, Windows & Related Components
- Headlamp Components
- High Mount Lamps
- Horn
- Ignition Lock
- Ignition System
- Instruments & Gauges
- License Lamps
- Lumbar Control Seats
- Mirrors
- Moonroof
- Park Lamps
- Power Seats
- Powertrain Control
- Quarter Window
- Rear Seat Belts
- Relays
- Senders
- Sensors
- Side Marker Lamps
- Signal Lamps
- Sliding Door
- Starter
- Switches
- Window Defroster
- Wipers
Browse Categories
Select category
- Aperture Panel
- Bumper & Components - Front
- Bumper & Components - Rear
- Center Pillar
- Cowl
- Door
- Door & Components
- Exterior Trim - Door
- Exterior Trim - Fender
- Exterior Trim - Lift Gate
- Exterior Trim - Side Door
- Exterior Trim - Side Panel
- Fender & Components
- Floor
- Fuel Door
- Gate & Hardware
- Glass - Door
- Glass - Lift Gate
- Glass - Side Door
- Glass - Side Panel
- Glass - Windshield
- Grille & Components
- Hardware
- Hinge Pillar
- Hood & Components
- Inner Structure
- Instrument Gauges
- Instrument Panel
- Interior Trim
- Interior Trim - Door
- Interior Trim - Pillars
- Interior Trim - Rear Body
- Interior Trim - Roof
- Interior Trim - Side Door
- Interior Trim - Side Panel
- Liftgate
- Luggage Carrier
- Outside Mirrors
- Overhead
- Radiator Support
- Rear Floor & Rails
- Rear Window
- Reveal Moldings
- Rocker
- Roof
- Seat Belt
- Seat Components
- Side Panel & Components
- Sliding Door
- Sound System
- Stripe Tape
- Structural Components & Rails
- Sunroof
- Tracks & Components
- Wiper & Washer Components
- Wiper Components
- ABS Components
- Air Bag Components
- Alternator
- Antenna & Radio
- Backup Lamps
- Battery
- Battery & Related Components
- Bulbs - Chassis
- Combination Lamps
- Cruise Control System
- Daytime Running Lamp Components
- Distributor
- Flasher Units, Fuses, & Circuit Breakers
- Flashers
- Front Door
- Front Seat Belts
- Glass, Windows & Related Components
- Headlamp Components
- High Mount Lamps
- Horn
- Ignition Lock
- Ignition System
- Instruments & Gauges
- License Lamps
- Lumbar Control Seats
- Mirrors
- Moonroof
- Park Lamps
- Power Seats
- Powertrain Control
- Quarter Window
- Rear Seat Belts
- Relays
- Senders
- Sensors
- Side Marker Lamps
- Signal Lamps
- Sliding Door
- Starter
- Switches
- Window Defroster
- Wipers
- Aperture Panel
- Bumper & Components - Front
- Bumper & Components - Rear
- Center Pillar
- Cowl
- Door
- Door & Components
- Exterior Trim - Door
- Exterior Trim - Fender
- Exterior Trim - Lift Gate
- Exterior Trim - Side Door
- Exterior Trim - Side Panel
- Fender & Components
- Floor
- Fuel Door
- Gate & Hardware
- Glass - Door
- Glass - Lift Gate
- Glass - Side Door
- Glass - Side Panel
- Glass - Windshield
- Grille & Components
- Hardware
- Hinge Pillar
- Hood & Components
- Inner Structure
- Instrument Gauges
- Instrument Panel
- Interior Trim
- Interior Trim - Door
- Interior Trim - Pillars
- Interior Trim - Rear Body
- Interior Trim - Roof
- Interior Trim - Side Door
- Interior Trim - Side Panel
- Liftgate
- Luggage Carrier
- Outside Mirrors
- Overhead
- Radiator Support
- Rear Floor & Rails
- Rear Window
- Reveal Moldings
- Rocker
- Roof
- Seat Belt
- Seat Components
- Side Panel & Components
- Sliding Door
- Sound System
- Stripe Tape
- Structural Components & Rails
- Sunroof
- Tracks & Components
- Wiper & Washer Components
- Wiper Components
- ABS Components
- Air Bag Components
- Alternator
- Antenna & Radio
- Backup Lamps
- Battery
- Battery & Related Components
- Bulbs - Chassis
- Combination Lamps
- Cruise Control System
- Daytime Running Lamp Components
- Distributor
- Flasher Units, Fuses, & Circuit Breakers
- Flashers
- Front Door
- Front Seat Belts
- Glass, Windows & Related Components
- Headlamp Components
- High Mount Lamps
- Horn
- Ignition Lock
- Ignition System
- Instruments & Gauges
- License Lamps
- Lumbar Control Seats
- Mirrors
- Moonroof
- Park Lamps
- Power Seats
- Powertrain Control
- Quarter Window
- Rear Seat Belts
- Relays
- Senders
- Sensors
- Side Marker Lamps
- Signal Lamps
- Sliding Door
- Starter
- Switches
- Window Defroster
- Wipers
No.
Part # / Description / Price
Price
1
1
Ford